1. 产品文档
cmi工作手机
  • 产品立项方案
  • 产品文档
    • 友米•CMI操作指引
    • 友米•CMI后台操作说明
    • cmi开通
    • cmi工作手机操作手册
    • 两头呼操作手册
    • 更新日志
  1. 产品文档

友米•CMI操作指引

友米•CMI使用流程图
CMI使用流程图.png

一、登录友米•CMI管理后台#

CMI管理后台网址:https://sso.yunshouzhi.net/web/open/mobilecti/Account/Login
(1)使用账号+密码登录
账号使用的是友米账号,如没有注册友米账号,可使用手机号+验证码登录。
账号+密码.png
(2)使用手机号+验证码登录
手机号+验证码.png

二、购买授权#

��授权用途.png
CMI APP有相应的授权才会去上传相应的数据,所以根据需要自行购买相应的授权数。
购买授权操作步骤:
1.
在系统首页点击“立即购买”;
2.
选择需要购买的授权数量及使用时长;
3.
点击“下一步”,扫码支付。
购买授权.png
购买授权详情页.png

三、新增设备#

设备相当于CMI APP账号,一个设备号只能登录在一个CMI APP。
新增设备操作如下图所示:
新增设备.png

四、登录CMI APP#

CMI APP下载链接:https://oimg.yunshouzhi.net/y3app/y3release/23/安卓/last_ver.apk
(1)使用扫码登录
操作步骤:
1.
在友米•CMI管理后台--->设备管理,点击“登录二维码”;
2.
打开CMI APP,点击“扫码登录”;
3.
对步骤1打开的二维码进行扫码登录。
登录二维码.png
登录页.png 正在扫码.png
(2)使用账号+密码登录
账号+密码登录.png

五、设置CMI APP权限#

必要权限都要设置为“始终允许”。
权限设置.png 必要权限.png

六、同步通话记录、短信等数据到后台管理#

CMI APP正常运行后会把手机的通话记录、通话录音、短信记录等数据同步到CMI管理后台。
上传通话短信记录.png
如果需要同步通话录音功能,则需要开启手机自动录音功能,操作如下图所示:
拨号设置.png 通话录音.png 自动录音.png

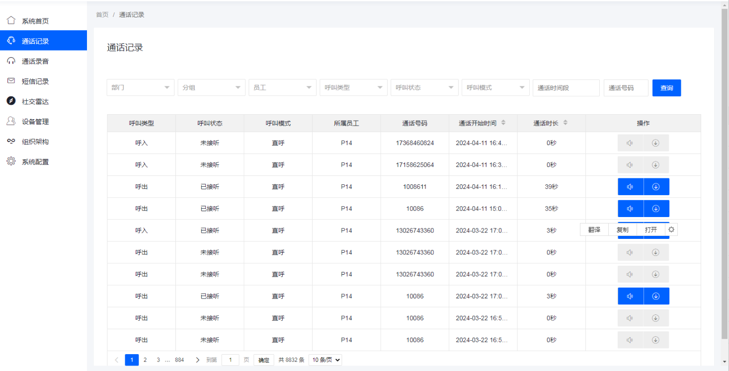
七、友米•CMI管理后台查看数据#

管理后台查看数据.png
修改于 2024-05-14 01:53:46
上一页
产品立项方案
下一页
友米•CMI后台操作说明
Built with